
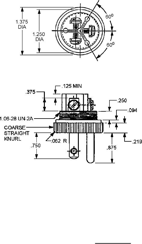
MIL-DTL-2726/38D
Inches
mm
.062
1.57
2.39
.094
3.17
.125
5.56
.219
.250
6.35
9.52
.375
.750
19.05
22.22
.875
1.06
26.9
1,250
31.75
34.47
1.375
NOTES:
1. Dimensions are in inches.
2. Metric equivalents are given for information only.
3. Unless otherwise specified, tolerances are ± .016 (0.41mm) and ± .5° on angles.
FIGURE 5. Plug tip assembly.
5