
INCH-POUND
MIL-DTL-2726/6C
14 February 2006
SUPERSEDING
MIL-R-2726/6B(SH)
3 July 1986
DETAIL SPECIFICATION SHEET
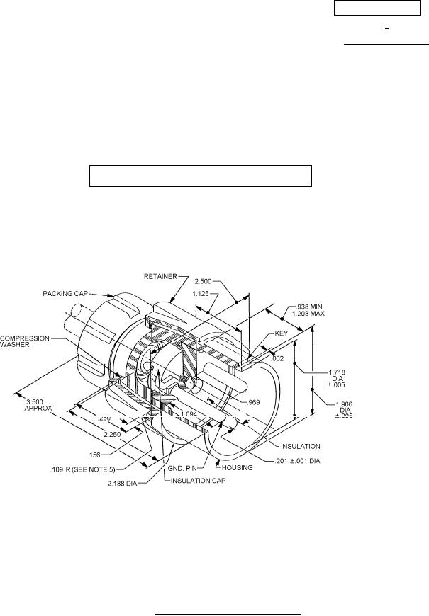
RECEPTACLE, PLUG, ELECTRICAL, 3 - PIN GROUNDED, 40 - AMPERE,
125 - VOLT, ALTERNATING CURRENT (SYMBOL NO. 1143.1)
Inactive for new design after 28 June 1999.
This specification is approved for use by all Departments
and Agencies of the Department of Defense.
The requirements for acquiring the product described herein shall consist of this
specification sheet and MIL-DTL-2726.
SH 9076A
NOTES:
1. Dimensions are in inches.
2. Metric equivalents are given for information only.
3. Unless otherwise specified, tolerances are ± .016 (0.41mm) and ± .5° on angles.
4. Supersedes: Drawing 9000-S6202-73882, pc 64, symbol 1143.
5. See detail "A" on MIL-DTL-2726/13.
FIGURE 1. Dimensions and configurations.
AMSC N/A
FSC 5935
For Parts Inquires submit RFQ to Parts Hangar, Inc.
© Copyright 2015 Integrated Publishing, Inc.
A Service Disabled Veteran Owned Small Business