
MIL-DTL-2726/7B
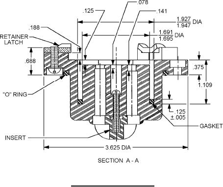
FIGURE 2. Receptacle (plastic) body - Continued.
REQUIREMENTS
Dimensions and configurations: See figures 1 and 2.
Effectiveness of enclosure: Watertight in accordance with MIL-STD-108 when
mounted in a suitable enclosure.
Material: Housing optional polyamide (nylon) or metal.
Receptacle insulation and cap in accordance with ASTM-D5948 type MAI-60.
Contact in accordance with ASTM-B441 copper alloy number 175, HT temper.
Contact hardness: Minimum of Rockwell 80F.
Mating plug: MIL-DTL-2726/1, Part or Identifying Number (PIN): M2726/1-001.
Cap assembly: MIL-DTL-2726/13, PIN M2726/13-001.
Design: Plastic housing and insulation may be a one piece molded unit.
Gasket: Neoprene, commercial (COML), durometer number 20. Lubricate with silicon
compound.
O-ring: As specified in SAE-AS28775, PIN 229.
Electrical rating: 40-ampere, 125-volt, direct current.
PIN: M2726/7-001 (metal housing and shell). PIN M2726/7-002 (plastic body).
Contact finish: Silver plate.
3
For Parts Inquires submit RFQ to Parts Hangar, Inc.
© Copyright 2015 Integrated Publishing, Inc.
A Service Disabled Veteran Owned Small Business