
MIL-DTL-2726/8B
NOTES:
1. Dimensions are in inches.
2. Metric equivalents are given for information only.
3. Unless otherwise specified, tolerances are ± .015 (0.38mm) and ± .5° degree on angles.
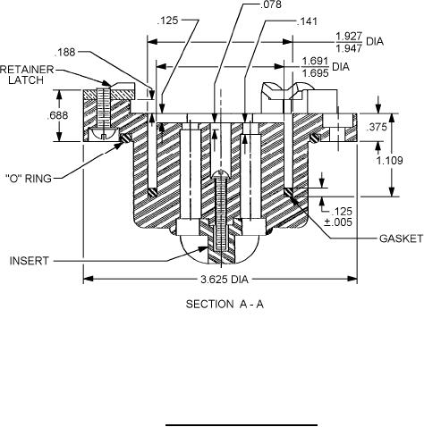
4. PIN: M2726/8-002.
FIGURE 2. Receptacle (plastic body).
REQUIREMENTS
Dimensions and configurations: See figures 1 and 2.
Effectiveness of enclosure: Watertight in accordance with MIL-STD-108 when mounted in a suitable
enclosure.
Material: Housing optional polyamide (nylon) or metal. Receptacle insulation and cap in
accordance with ASTM-D5948 type MAI-60. Contacts in accordance with
ASTM-B441copper alloy number 175, HT temper.
Contact hardness: Minimum of Rockwell 80F.
Mating plug: MIL-DTL-2726/2, PIN M2726/2-001.
Cap assembly: MIL-DTL-2726/13, PIN M2726/13-001.
Design: Plastic housing and insulation may be a one piece molded unit.
Gasket: Neoprene, commercial (COML), durometer number 20. Lubricate with silicon compound.
O-ring: In accordance with SAE-AS28775, PIN 229.
Electrical rating: 50-ampere, 250-volt, direct current.
3