
INCH-POUND
MIL-DTL-28754/17D
15 October 2001
SUPERSEDING
MIL-C-28754/17C
13 December 1982
DETAIL SPECIFICATION
CONNECTORS, ELECTRICAL, MODULAR, CONNECTOR ASSEMBLY,
TYPE V, STYLE I, CONTACT TAILS ON .100 CENTERS
This specification is approved for use by all Departments
and Agencies of the Department of Defense.
The complete requirements for acquiring the connector assemblies described
herein shall consist of this specification and the latest issue of MIL-C-28754.
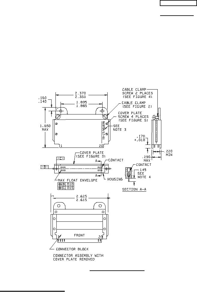
FIGURE 1. Connector assembly type V.
AMSC N/A
1 of 9
FSC 5935
DISTRIBUTION STATEMENT A. Approved for public release; distribution is unlimited.
For Parts Inquires submit RFQ to Parts Hangar, Inc.
© Copyright 2015 Integrated Publishing, Inc.
A Service Disabled Veteran Owned Small Business