
MIL-DTL-28754/17D
Inches
mm
Inches
mm
Inches
mm
.002
0.05
.095
2.41
.562
14.27
.004
0.10
.115
2.92
.990
25.15
.006
0.15
.135
3.34
1.010
25.65
.008
0.20
.146
3.71
1.271
32.28
.010
0.25
.147
3.73
1.276
32.41
.020
0.51
.15
3.8
1.69
42.93
.023
0.58
.17
4.3
1.81
45.97
.027
0.69
.22
5.6
1.93
49.02
.03
0.76
.320
8.13
1.95
49.53
.05
1.27
.330
8.38
2.200
55.88
.060
1.50
.495
12.57
2.425
61.59
.085
2.16
.505
18.83
2.435
61.85
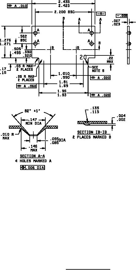
FIGURE 3. Cover plate MS14061.
4
For Parts Inquires submit RFQ to Parts Hangar, Inc.
© Copyright 2015 Integrated Publishing, Inc.
A Service Disabled Veteran Owned Small Business