
MIL-DTL-55302/70D
Inches
mm
Inches
mm
.050
1.27
.550
13.97
.087
2.21
.600
15.24
.100
2.54
.650
16.51
.150
3.81
.700
17.78
.200
5.08
.750
19.05
.250
6.35
.800
20.32
.300
7.62
.850
21.59
.350
8.89
.900
22.86
.400
10.16
.950
24.13
.450
11.43
1.000
25.40
.500
12.70
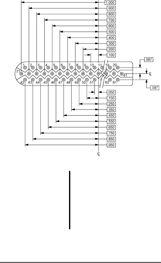
NOTE: Contacts 1, 20 and 61 are identified on the front face of the connector per the insert arrangement.
FIGURE 2. Insert arrangement for .100 (2.54 mm) contact spacing connector (male engaging face).
2
For Parts Inquires submit RFQ to Parts Hangar, Inc.
© Copyright 2015 Integrated Publishing, Inc.
A Service Disabled Veteran Owned Small Business