
MIL-DTL-83538/4C
mm
Inches
mm
Inches
mm
Inches
mm
Inches
mm
Inches
0.05
0.002
2.03
0.080
6.30
0.248
15.15
0.596
37.49
1.476
0.100
.00394
2.21
0.087
6.35
0.250
31.65
1.246
38.35
1.510
0.102
0.004
2.31
0.090
6.40
0.252
33.73
1.328
38.46
1.514
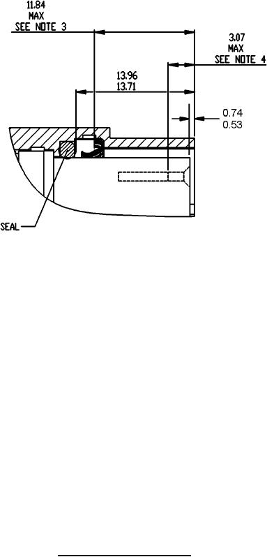
0.53
0.021
3.05
0.120
9.73
0.383
33.83
1.332
44.73
1.761
0.74
0.029
3.07
0.121
9.83
0.387
34.54
1.360
44.93
1.769
1.58
0.053
3.18
0.125
11.84
0.466
34.65
1.364
52.83
2.080
1.73
0.069
3.33
0.131
13.71
0.539
35.97
1.416
53.34
2.100
1.75
0.069
4.57
0.180
13.96
0.549
36.07
1.420
67.97
2.675
37.39
1.472
68.68
2.704
NOTES:
1. Dimensions are in millimeters.
2. Inch equivalents are given for information only.
3. A point at which the mating shell first touches the ground spring.
4. A point at which a gauge pin, having the same basic diameter as the mating contact and a
square face, touches the socket contact spring.
FIGURE 1. Launcher receptacle, style A - Continued.
4