
MIL-PRF-39012/3H
NOTES:
1. Dimensions are in inches.
2. Metric equivalents are given for information only
3. For dimensions A and B, see tables I and III.
4. Dimensions A and B are the largest overall dimensions of the connector.
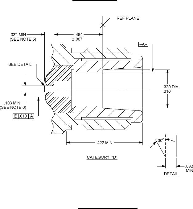
5. Wrench flats to accommodate standard wrench in accordance with FED-STD-H28, appendix 10.
6. All undimensioned pictorial configurations are for reference purposes only.
7. Dimension A defines the maximum length of the connector when assembled to the appropriate
cable.
8. Series N, socket contact interface, in accordance with MIL-STD-348.
FIGURE 1. General configuration Continued.
FIGURE 2. Category D captivation detail.
2
For Parts Inquires submit RFQ to Parts Hangar, Inc.
© Copyright 2015 Integrated Publishing, Inc.
A Service Disabled Veteran Owned Small Business