MS24286E

Shell size |
N ±.005 |
F ±.005 |
G |
A |
3.560 |
3.375 |
3.251 |
B |
2.130 |
1.945 |
1.821 |
C |
1.685 |
1.516 |
1.392 |
Size of contact |
Type of contacts |
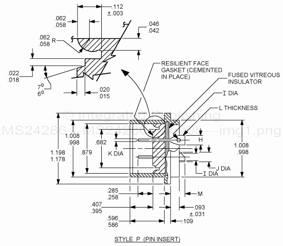
H |
I Dia |
J Dia |
K Dia |
L |
M max |
|||
Max |
Min |
Max |
Min |
Max |
Min |
|||||
12 |
Solder cup |
.102 |
.098 |
.153 |
.147 |
.095 |
.093 |
.300 |
||
12 |
Eyelet |
.200 |
.102 |
.098 |
.095 |
.093 |
.035 |
.300 |
||
16 |
Solder cup |
.68 |
.066 |
.105 |
.101 |
.063 |
.061 |
.300 |
||
16 |
Eyelet |
.125 |
.68 |
.066 |
.063 |
.061 |
.025 |
.300 |
||
20 |
Solder cup |
.050 |
.048 |
.078 |
.076 |
.041 |
.039 |
.230 |
||
20 |
Eyelet |
.080 |
.050 |
.048 |
.041 |
.039 |
.015 |
.230 |
||
FIGURE 2. Connector dimensions and configurations - Continued.
5
For Parts Inquires submit RFQ to Parts Hangar, Inc.
© Copyright 2015 Integrated Publishing, Inc.
A Service Disabled Veteran Owned Small Business