
MIL-DTL-24231/1E(SH)
8 SLOTS EQUALLY SPACED
1
16
1
4
1
64R
3
32R
1.688-12UN-2B
Ø1.687
Ø1.070
1.062
Ø2.000
Ø1.505
SEE NOTE 3
1
16R
1
8
3
32R
1
8
3
8
125
1.062
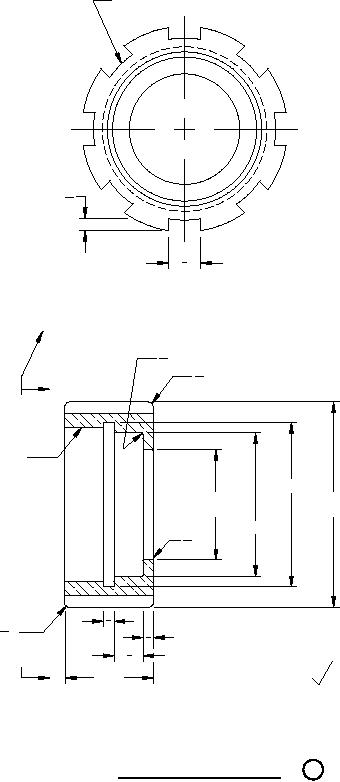
FIGURE 4. Coupling M24231/1-011.
5
5
For Parts Inquires submit RFQ to Parts Hangar, Inc.
© Copyright 2015 Integrated Publishing, Inc.
A Service Disabled Veteran Owned Small Business