
MIL-DTL-24231/12E(SH)
M24231/12-001 3-CONDUCTOR - SYM NO. 737 1
M24231/12-002 2-CONDUCTOR SHIELDED - SYM NO. 737.4
2
RECEPTACLE,
M24231/12-003 4-CONDUCTOR - SYM NO. 737.7 3
ASSEMBLY
M24231/12-004 5-CONDUCTOR 4
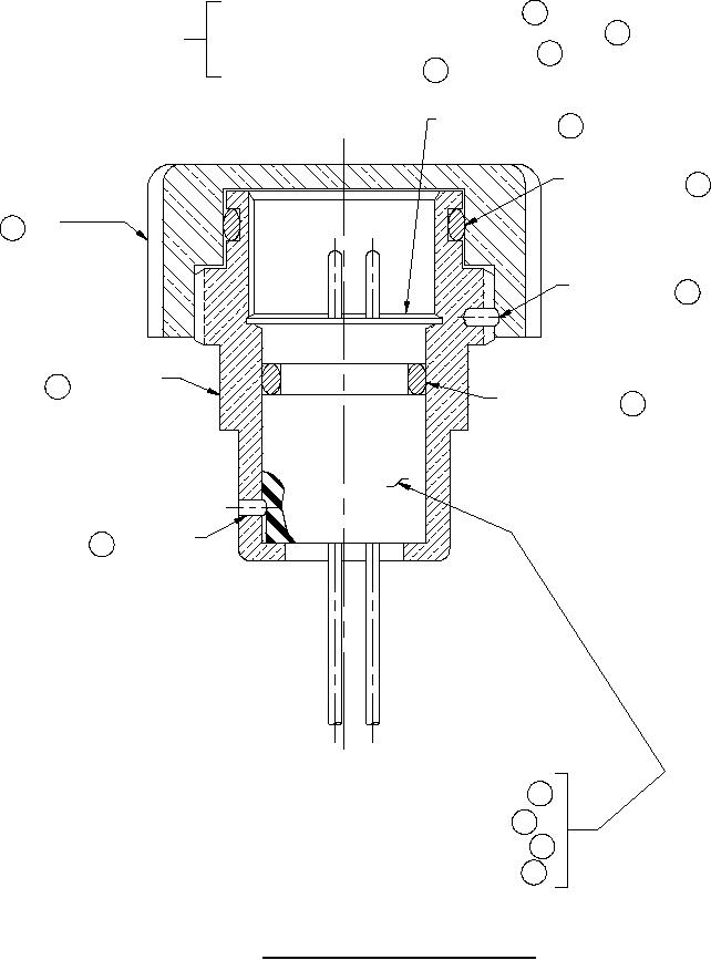
RING, RETAINING 13
M24231/5-073
GASKET, O-RING 12
SAE-AS28775-215
CAP,
16
M24231/12-011
NYLON INSERT
10
M24231/5-077
BODY, RCPT,
5
M24231/12-010
GASKET, O-RING 11
SAE-AS28775-115
PIN, GUIDE
14
M24231/12-012
ASSEMBLY, INSERT, MOLDED (3-COND) M24231/5-010 7
ASSEMBLY, INSERT, MOLDED (2-COND SHIELDED)
6
M24231/12-020
ASSEMBLY, INSERT, MOLDED (4-COND) M24231/5-020 8
ASSEMBLY, INSERT, MOLDED (5-COND) M24231/5-067
9
FIGURE 1. Connector, multi-pin receptacle typical.
2
For Parts Inquires submit RFQ to Parts Hangar, Inc.
© Copyright 2015 Integrated Publishing, Inc.
A Service Disabled Veteran Owned Small Business