
MIL-DTL-24231/9E(SH)
MOLD OR MARK WITH INDELIBLE INK
THE PART NO. ON THIS SURFACE.
"A" DIA
1.098 DIA
1.088
1.255
1.245
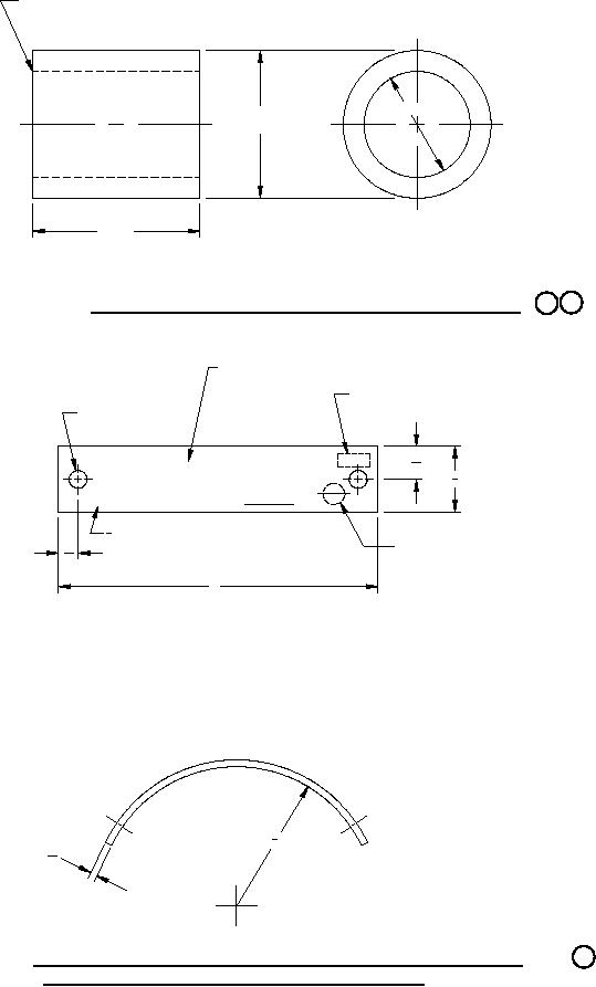
FIGURE 4. Packing M24231/9-011 (A=0.600), M24231/9-021 (A=0.782).
13
9
9-001, OR 9-002, OR 9-003
CURRENT REV. LETTER AT
TIME OF MANUFACTURE.
Ø0.156, 2 HOLES
5
REV
M24231/
16
5
8
HULL HOLE NO.
1
HIGH LTR'S (MIN).
8
MANUFACTURER'S
3
16
IDENTIFICATION
3
13R
8
1
16
28
FIGURE 5. Plate, identification - M24231/9-051 (for M24231/9-001), M24231/9-052
(for M24231/9-002), M24231/9-053 (for M24231/9-003).
6
For Parts Inquires submit RFQ to Parts Hangar, Inc.
© Copyright 2015 Integrated Publishing, Inc.
A Service Disabled Veteran Owned Small Business