
INCH-POUND
MIL-DTL-2726/50D
10 January 2003
SUPERSEDING
MIL-R-2726/50C(SH)
3 July 1986
DETAIL SPECIFICATION SHEET
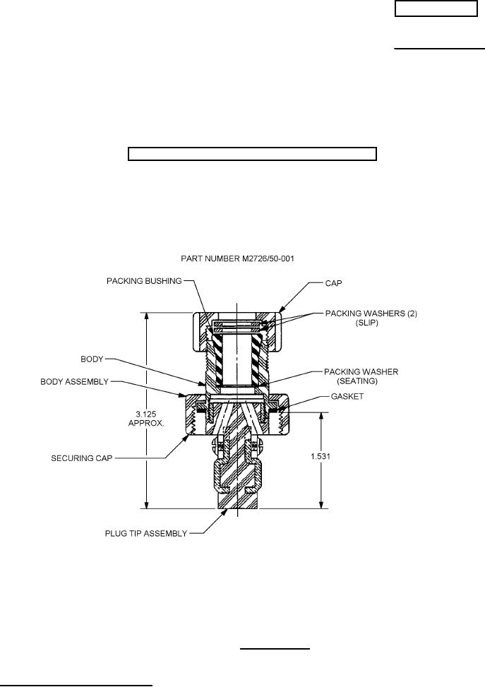
RECEPTACLE, PLUG, ELECTRICAL, 15-AMPERE, 125/250-VOLTS,
2-POLE, GROUNDED (SYMBOL NO. 720.3)
Inactive for new design after 26 December 1990
This specification is approved for use by the Department of the Navy and is
available for use by all Departments and Agencies of the Department of Defense.
The complete requirements for procuring the product described herein
shall consist of this specification and the latest issue of MIL-R-2726.
Inches
mm
1.531
38.89
3.125
79.38
NOTES:
1. Dimensions are in inches.
2. Metric equivalents are given for general information only.
3. Tolerance is ± .016 inch (0.41 mm).
4. Angular tolerance is ± 0.5°.
5. Supersedes MS17791.
FIGURE 1. Plug assembly.
AMSC N/A
1 of 9
FSC 5935
DISTRIBUTION STATEMENT A. Approved for public release; distribution is unlimited.