
MIL-DTL-55302/118E
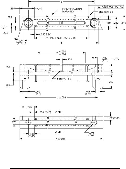
FIGURE 2. Connectors, plug without pin protectors, .050 (1.27 mm) spacing for style 2.
3
For Parts Inquires submit RFQ to Parts Hangar, Inc.
© Copyright 2015 Integrated Publishing, Inc.
A Service Disabled Veteran Owned Small Business