
MIL-DTL-55302/170B
Inches
mm
Inches
mm
Inches
mm
Inches
mm
.002
0.05
.021
0.53
.115
2.92
.375
9.55
.003
0.08
.040
1.02
.187
4.75
.435
11.05
.004
0.10
.050
1.27
.205
5.21
.475
12.07
.005
0.13
.056
1.42
.220
5.59
.545
13.84
.010
0.25
.060
1.52
.235
5.97
.575
14.61
.015
0.38
.075
1.90
.285
7.24
.645
16.38
.020
0.51
.096
2.44
.335
8.51
.645
18.92
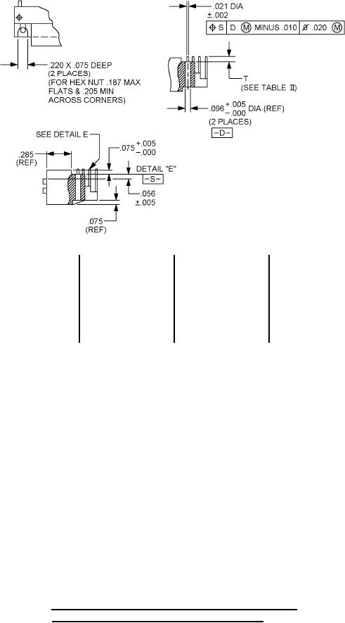
NOTES:
1. Dimensions are in inches.
2. Metric equivalents are given for general information only.
3. Unless otherwise specified, tolerance is ± .010 (0.25 mm).
4. These connectors mate with connectors specified in MIL-DTL-55302/166, MIL-DTL-55302/167
and MIL-DTL-55302/168 and are primarily for use with single-sided, double-sided, or multilayered
printed wiring boards.
5. The polarization feature, utilizing four M55302/78-02 polarizing keys which are not supplied with
the connector, will provide 256 unique polarizing positions.
6. For dimensions A through K, see table I.
7. Contact rows are identified by molded letters on the front and rear face. Numbers indicating every
fifth contact per row appear on rear face, except for arrangements consisting of 10 contacts per
row which lack numerals. Up to 9 contact locations at the high numeral end of the contact row will
not be identified.
8. Indicated dimension shall occur at least at one point within each of the following zones. The
zones are defined as areas of the feature containing contact positions 1 through 5, 16 through 20,
46 through 50, 76 through 80, and the zone containing the highest five contact positions. The
tolerance for the areas not described above shall be + .010 (0.25 mm) -.004 (0.10 mm).
9. Perfect form at MMC not required. Dimension for user installation purposes only.
10. Part or Identifying Number (PIN).
FIGURE 1. Connector, female brush, right angle for multilayered
printed wiring boards .100 (2.54 mm) spacing Continued.
2
For Parts Inquires submit RFQ to Parts Hangar, Inc.
© Copyright 2015 Integrated Publishing, Inc.
A Service Disabled Veteran Owned Small Business