
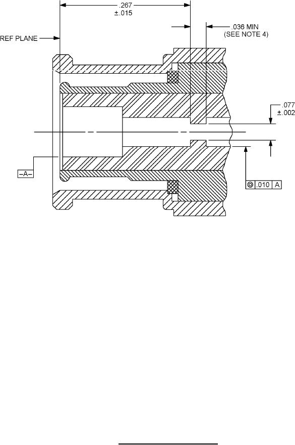
MIL-PRF-39012/16H
inches
mm
.002
0.05
.010
0.20
.015
0.38
.036
0.91
.077
1.96
.267
6.78
NOTES:
1. Dimensions are in inches.
2. Metric equivalents are given for information only.
3. In the mated condition, the longitudinal force of the spring of the coupling mechanism shall exceed
the pressure exerted bed the sealing gasket by an amount necessary to insure butting of the outer
contacts at the reference plane.
4. Chamfer is optional.
FIGURE 2. Category D captivation detail.
2
For Parts Inquires submit RFQ to Parts Hangar, Inc.
© Copyright 2015 Integrated Publishing, Inc.
A Service Disabled Veteran Owned Small Business