
MIL-PRF-39012/17H
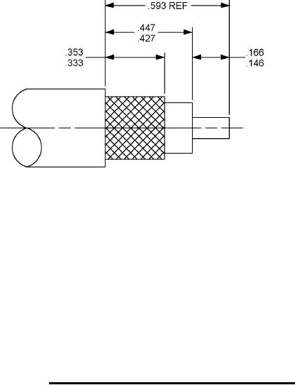
Inches
mm
3.71
.146
4.22
.166
8.46
.333
8.97
.353
10.85
.427
.447
11.35
.593
15.06
NOTES:
1. Dimensions are in inches.
2. Metric equivalents are given for Information only.
FIGURE 4. Cable stripping dimensions for field replaceable connectors.
ENGINEERING DATA
Nominal impedance: 50 ohms.
Frequency range:
0 to 4 GHz.
Voltage rating:
500 volts rms, maximum working voltage at sea Level.
125 volts rms, maximum at 70,000 feet (4.437 kPa).
Temperature rating: - 65°c to + 165°C.
8
For Parts Inquires submit RFQ to Parts Hangar, Inc.
© Copyright 2015 Integrated Publishing, Inc.
A Service Disabled Veteran Owned Small Business