
INCH-POUND
MIL-DTL-12883/40F
18 February 2003
SUPERSEDING
MIL-PRF-12883/40E
28 June 1996
DETAIL SPECIFICATION SHEET
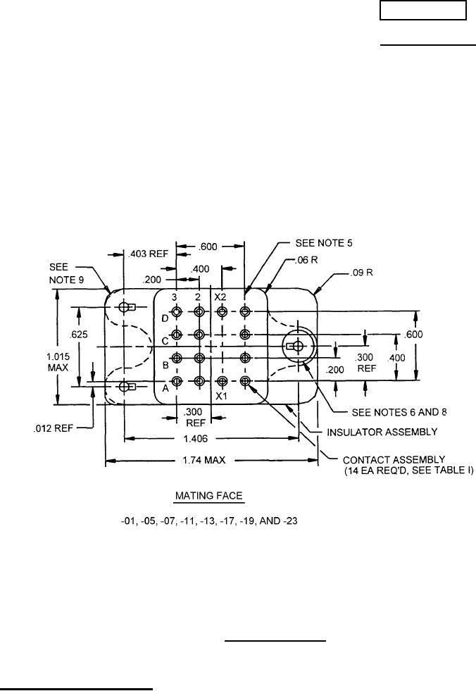
SOCKETS, PLUG-IN ELECTRONIC COMPONENTS FOR RELAYS, 4-POLE, 10 AMPERES
(MIL-PRF-6106, MIL-PRF-83536, MIL-PRF-83726, AND MS27709)
This specification is approved for use by all Departments and Agencies of the Department of Defense.
The requirements for acquiring the product described
herein shall consist of this specification and MIL-DTL-12883.
FIGURE 1. Socket configurations.
AMSC N/A
1 of 14
FSC 5935
DISTRIBUTION STATEMENT A. Approved for public release; distribution is unlimited.