
MIL-DTL-24231/4E(SH)
2.750-12UN-2A
1
8
UNDERCUT TO
ROOT OF THD.
27
Ø132
1
SLOT
8
7
32
15
32
125
19
ALL OVER
32
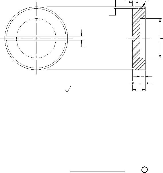
FIGURE 6. Protective cap M24231/4-012.
11
7
For Parts Inquires submit RFQ to Parts Hangar, Inc.
© Copyright 2015 Integrated Publishing, Inc.
A Service Disabled Veteran Owned Small Business