
MIL-DTL-24231/11E(SH)
SEE REQUIREMENT 12
MIL-DTL-24231/12
RECPT
4
7
MIL-DTL-24231/14
RECPT
55°
1
* MIL-DTL-24231/12
MIL-DTL-24231/13
60°
TOP OF COVER HOLES
PLAN VIEW
FOR DESIGNATION PLATE
MIL-DTL-24231/13
SAME AS M24231/11-005
RECPT
8
17
8
23
8
LOCATIONS 2, 3, & 4
FOR RECPTS*
113
6
LOCATIONS 5, 6, 7, & 8
LOCATION FOR
FOR RECPTS*
MIL-DTL-24231/14
(ONLY)
SIDE VIEW
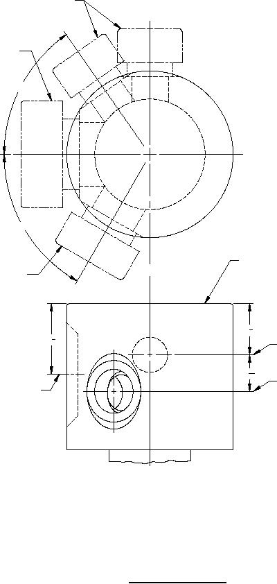
NOTE: THE RECEPTACLE SIZES AND THEIR LOCATIONS AS SHOWN ARE SOMETIMES
REQUIRED DUE TO SYSTEM CHANGES AND SHIPBOARD INTERFERENCES. THE
LOCATING DEGREES INDICATED SHALL BE USED IN ORDER TO AVOID THE
INTERSECTION OF HOLES AND SPOTFACES.
FIGURE 11. Location of receptacles.
13
For Parts Inquires submit RFQ to Parts Hangar, Inc.
© Copyright 2015 Integrated Publishing, Inc.
A Service Disabled Veteran Owned Small Business