
MIL-DTL-24231/11E(SH)
1
Ø54
1
16R
3
1
8
4
1
372°
5
1
x 45°
8
32
0.250
Ø4.484
125
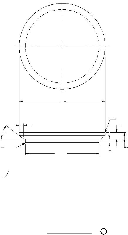
FIGURE 3. Cover M24231/11-008.
20
5
For Parts Inquires submit RFQ to Parts Hangar, Inc.
© Copyright 2015 Integrated Publishing, Inc.
A Service Disabled Veteran Owned Small Business