
MIL-DTL-24231/11E(SH)
4
6
1
222°
7
4 X 0.138-32NC-2B,
7
32 TAP DRILL PILOT
45° SHALL NOT EXCEED
0.250 MAX DEPTH.
1
222°
2
1
17R
8
1
222°
45°
8
M24231/14
5
30°
TOP OF COVER
3
Ø117
6
1
1
Ø28
4
FOR M24231/13
17
8
RECPT.
3
28
LOCATIONS 1, 2, 3, & 4
113
FOR RECPTS*
6
LOCATION FOR
LOCATIONS 5, 6, 7, & 8
M24231/14 ONLY.
FOR RECPTS*
11
Ø2
Ø216
APPROX 35° ALL
3
8
SPOTFACES.
1
Ø18
Ø113
3
16
16
FOR M24231/12 RECPT.
NOTE: DIMENSIONS OF DRILLED HOLES AND
SPOTFACES MAY BE CHANGED WITH
THE APPROVAL OF THE PROCURING
* M24231/12
ACTIVITY.
M24231/13
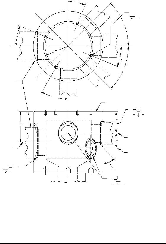
FIGURE 5. Typical location of receptacles and drilling sequence for M24231/11-004 (see requirement 6).
7
For Parts Inquires submit RFQ to Parts Hangar, Inc.
© Copyright 2015 Integrated Publishing, Inc.
A Service Disabled Veteran Owned Small Business