
MIL-DTL-28748/1E
.312 MAX
STEP
OPTIONAL
Inches
mm
Inches
mm
Inches
mm
.002
0.05
.130
3.30
.312
7.92
.005
0.13
.143
3.63
.365
9.27
.010
0.25
.150
3.81
.438
11.13
.016
0.41
.176
4.47
.752
19.10
.02
0.5
.195
4.95
.903
22.94
.020
0.51
.219
5.56
1.255
31.88
.075
1.91
.250
6.35
1.568
39.89
.09
2.3
.260
6.60
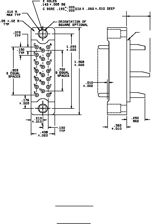
Insert with 20 contacts
Insert designator C
FIGURE 2. Insert arrangements - Continued.
4
For Parts Inquires submit RFQ to Parts Hangar, Inc.
© Copyright 2015 Integrated Publishing, Inc.
A Service Disabled Veteran Owned Small Business