
MIL-DTL-28748/1E
Inches
mm
.002
0.05
.003
0.08
.005
0.13
.008
0.20
.010
0.25
.016
0.41
.02
0.5
.020
0.51
.075
1.91
.09
2.3
.090
2.29
.110
2.79
.118
3.00
.143
3.63
.151
3.84
.180
4.57
.195
4.95
.235
5.97
.250
6.35
.251
6.38
.260
6.60
.365
9.27
.3765
9.563
.470
11.94
.753
19.13
1.354
34.39
1.505
38.23
2.007
50.98
2.320
58.93
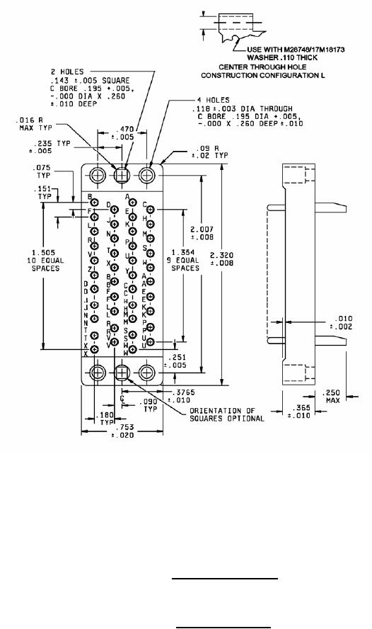
Configuration E - Suitable for all applications, except one-piece jackscrews.
Configuration L - For long jackscrews and hood only (through hole alternate construction).
Insert with 42 contacts
Insert designators E and L
FIGURE 2. Insert arrangements - Continued.
6
For Parts Inquires submit RFQ to Parts Hangar, Inc.
© Copyright 2015 Integrated Publishing, Inc.
A Service Disabled Veteran Owned Small Business