
MIL-DTL-28748/1E
Inches
mm
0.05
.002
0.08
.003
0.13
.005
0.20
.008
0.25
.010
0.41
.016
0.5
.02
0.51
.020
1.91
.075
2.3
.09
2.29
.090
2.79
.110
3.00
.118
3.63
.143
3.84
.151
4.57
.180
4.95
.195
5.97
.235
6.22
.245
6.35
.250
6.60
.260
9.27
.365
9.563
.3765
11.94
.470
19.13
.753
26.75
1.053
30.58
1.204
43.03
1.694
50.98
2.007
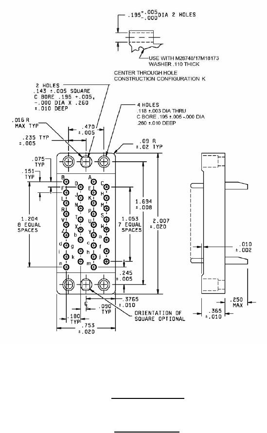
Configuration D - Suitable for all applications, except one-piece jackscrews.
Configuration K - For long jackscrews and hood only (through hole alternate construction).
Insert with 34 contacts
Insert designators D and K
FIGURE 2. Insert arrangements - Continued.
5
For Parts Inquires submit RFQ to Parts Hangar, Inc.
© Copyright 2015 Integrated Publishing, Inc.
A Service Disabled Veteran Owned Small Business