
MIL-DTL-28748/1E
Inches
mm
0.05
.002
0.08
.003
0.13
.005
0.20
.008
0.25
.010
0.41
.016
0.5
.02
0.51
.020
2.29
.090
2.79
.110
3.00
.118
3.63
.143
3.84
.151
4.57
.180
4.95
.195
5.97
.235
6.35
.250
6.38
.251
6.60
.260
7.9
.31
9.27
.365
9.73
.383
12.75
.502
14.338
.5645
28.68
1.129
38.28
1.507
50.19
1.976
58.14
2.289
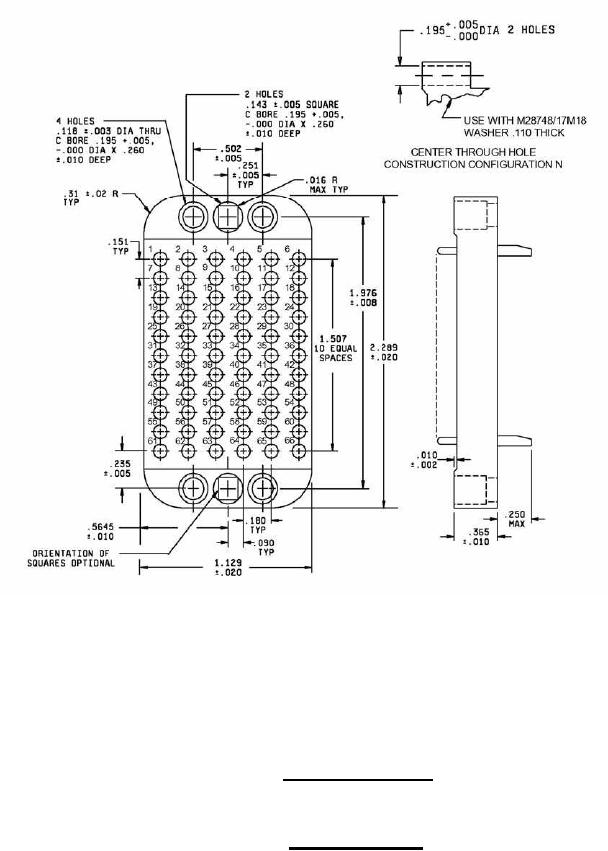
Configuration G - Suitable for all applications, except one-piece jackscrews.
Configuration N - For long jackscrews and hood only (through hole alternate construction).
Insert with 66 contacts
Insert designators G, N, X, and 4
FIGURE 2. Insert arrangements - Continued.
8
For Parts Inquires submit RFQ to Parts Hangar, Inc.
© Copyright 2015 Integrated Publishing, Inc.
A Service Disabled Veteran Owned Small Business