
MIL-DTL-28748/1E
Inches
mm
.002
0.05
.003
0.08
.005
0.13
.008
0.20
.010
0.25
.016
0.41
.02
0.5
.020
0.51
.062
1.57
.075
1.91
.09
2.3
.117
2.97
.118
3.00
.125
3.63
.143
3.81
.151
4.57
.180
5.94
.195
4.95
.234
6.35
.242
6.15
.250
6.45
.254
6.60
.260
9.27
.365
9.73
.383
11.15
.619
15.72
1.238
31.45
1.655
42.04
1.806
45.87
2.290
58.17
2.728
69.29
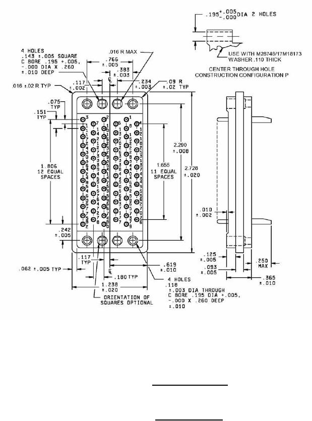
Configuration H - Suitable for all applications, except one-piece jackscrews.
Configuration P - For long jackscrews and hood only (through hole alternate construction).
Insert with 75 contacts
Insert designators H, P, Y, and 5
FIGURE 2. Insert arrangements - Continued.
9
For Parts Inquires submit RFQ to Parts Hangar, Inc.
© Copyright 2015 Integrated Publishing, Inc.
A Service Disabled Veteran Owned Small Business