
MIL-DTL-28748/5E
Inches
mm
.002
0.05
.003
0.08
.005
0.13
.008
0.2
.010
0.25
.016
0.41
.02
0.5
.020
0.51
.062
1.57
.075
1.91
.09
2.29
.090
2.29
.093
2.36
.110
2.79
.118
3.00
.125
3.18
.143
3.63
.151
3.84
.156
3.96
.16
4.06
.180
4.57
.195
4.95
.235
5.97
.242
6.15
.250
6.35
.260
6.60
.365
9.27
.439
11.15
.470
31.88
.878
23.30
1.655
42.04
1.806
45.87
2.290
58.17
2.728
69.29
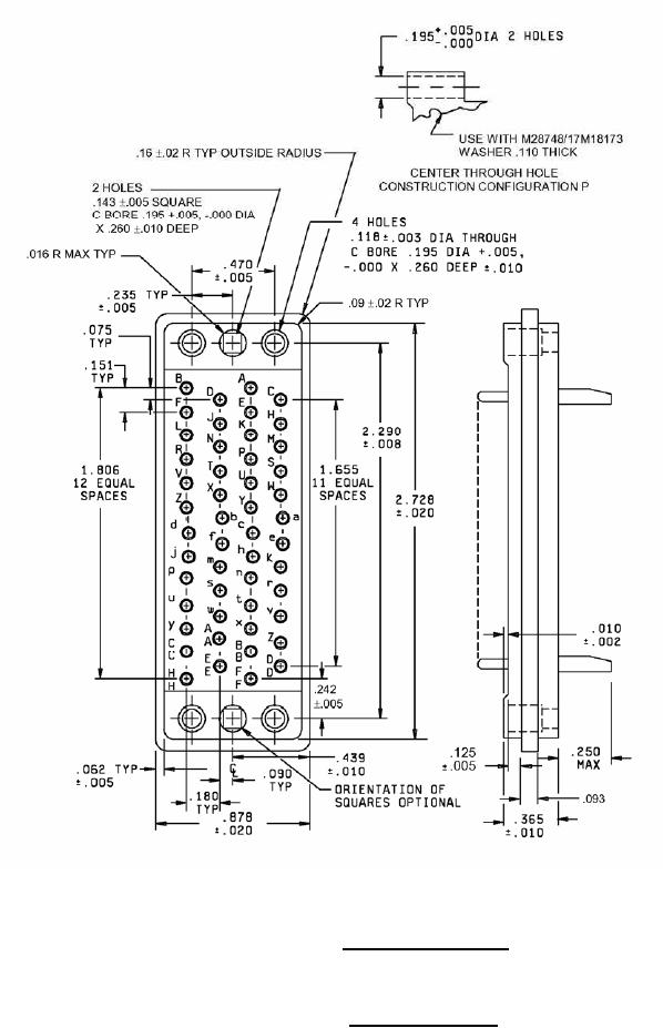
Configuration H - Suitable for all applications, except one-piece jackscrews.
Configuration P - For long jackscrews and shield only (through hole alternate construction).
Insert with 50 contacts
Insert designators H and P
FIGURE 2. Insert arrangements - Continued.
10
For Parts Inquires submit RFQ to Parts Hangar, Inc.
© Copyright 2015 Integrated Publishing, Inc.
A Service Disabled Veteran Owned Small Business