
MIL-DTL-28748/5E
Inches
mm
Inches
mm
Inches
mm
Inches
mm
9.27
.365
3.81
.150
0.51
.020
0.05
.002
14.30
.562
4.95
.195
1.65
.065
0.08
.003
19.00
.750
5.23
.206
1.90
.075
0.13
.005
22.90
.900
6.35
.250
2.29
.09
0.25
.010
33.32
1.312
6.60
.260
3.00
.118
0.41
.016
41.27
1.625
7.14
.281
1.33
.130
0.5
.02
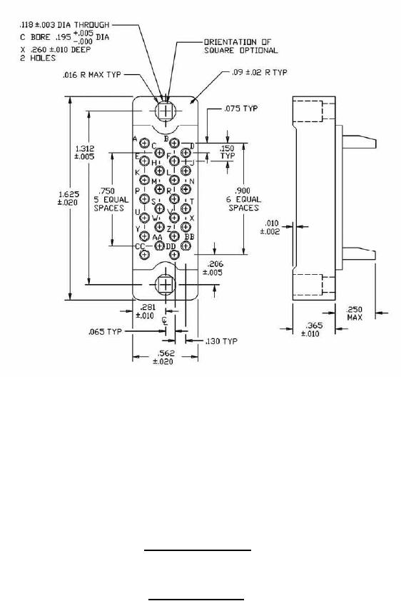
Insert with 26 contacts
Insert designator E
FIGURE 2. Insert arrangements - Continued.
7
For Parts Inquires submit RFQ to Parts Hangar, Inc.
© Copyright 2015 Integrated Publishing, Inc.
A Service Disabled Veteran Owned Small Business