
MIL-DTL-28748/5E
Inches
mm
0.05
.002
0.08
.003
0.13
.005
0.20
.008
0.25
.010
0.41
.016
0.5
.02
0.51
.020
1.57
.062
1.91
.075
2.29
.090
2.79
.110
3.63
.143
3.81
.150
3.84
.151
4.57
.180
4.95
.195
5.94
.234
6.35
.250
6.45
.254
6.60
.260
9.27
.365
9.7
.38
11.15
.439
19.51
.768
22.30
.878
39.01
1.536
45.87
1.806
60.681
2.389
70.33
2.769
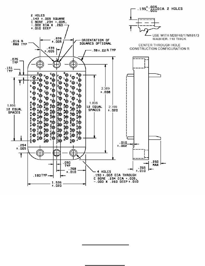
Configuration K - Suitable for all applications, except one-piece jackscrews.
Configuration R - For long jackscrews and shield only (through hole alternate construction).
Insert with 104 contacts
Insert designators J and Q
FIGURE 2. Insert arrangements - Continued.
12
For Parts Inquires submit RFQ to Parts Hangar, Inc.
© Copyright 2015 Integrated Publishing, Inc.
A Service Disabled Veteran Owned Small Business