
MIL-DTL-28748/5E
Inches
mm
Inches
mm
Inches
mm
6.60
.260
2.3
.09
0.05
.002
7.67
.302
3.63
.143
0.13
.005
9.27
.365
3.84
.151
0.25
.010
9.53
.375
4.37
.172
0.41
.016
11.50
.453
4.75
.187
0.5
.02
15.32
.603
4.95
.195
0.51
.020
23.10
.909
5.79
.228
1.91
.075
31.10
1.223
6.35
.250
2.18
.086
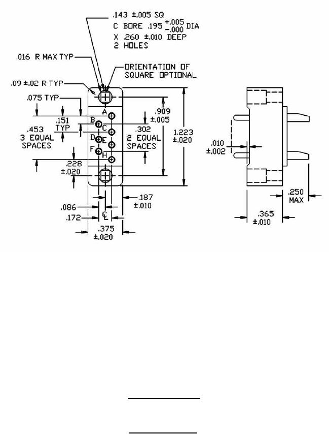
Insert with 7 contacts
Insert designator A
FIGURE 2. Insert arrangements - Continued.
2
For Parts Inquires submit RFQ to Parts Hangar, Inc.
© Copyright 2015 Integrated Publishing, Inc.
A Service Disabled Veteran Owned Small Business