
MIL-DTL-28748/5E
Inches
mm
Inches
mm
Inches
mm
6.35
.250
2.3
.09
0.05
.002
6.60
.260
3.30
.130
0.13
.005
9.27
.365
3.63
.143
0.25
.010
11.13
.438
3.81
.150
0.41
.016
19.00
.750
4.44
.175
0.5
.02
22.86
.900
4.95
.195
0.51
.020
31.80
1.250
5.56
.219
1.91
.075
39.70
1.562
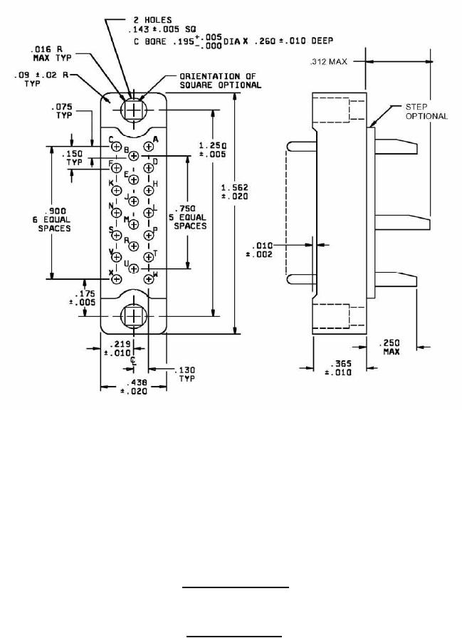
Insert with 20 contacts
Insert designator D
FIGURE 2. Insert arrangements - Continued.
6
For Parts Inquires submit RFQ to Parts Hangar, Inc.
© Copyright 2015 Integrated Publishing, Inc.
A Service Disabled Veteran Owned Small Business