
MIL-DTL-28748/6E
Inches
mm
Inches
mm
Inches
mm
Inches
mm
Inches
mm
.002
0.05
.02
0.5
.093
2.36
.180
4.57
.4375
11.113
.003
0.08
.020
0.51
.110
2.79
.195
4.95
.470
31.88
.005
0.13
.062
1.57
.118
3.00
.235
5.97
.871
22.12
.008
0.20
.075
1.91
.125
3.18
.24
6.10
1.650
41.91
.010
0.25
.09
2.29
.143
3.63
.250
6.35
1.800
45.72
.016
0.41
.090
2.29
.150
3.81
.260
6.60
2.282
57.96
.365
9.27
2.718
69.04
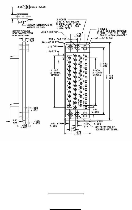
Configuration H - Suitable for all applications, except one-piece jackscrews.
Configuration P - For long jackscrews and shield only (through hole alternate construction).
Insert with 50 contacts
Insert designators H and P
FIGURE 2. Insert arrangements - Continued.
10
For Parts Inquires submit RFQ to Parts Hangar, Inc.
© Copyright 2015 Integrated Publishing, Inc.
A Service Disabled Veteran Owned Small Business