
MIL-DTL-28748/6E
Inches
mm
Inches
mm
Inches
mm
.002
0.05
.075
1.90
.260
6.60
.003
0.08
.09
2.29
.281
7.14
.005
0.13
.118
3.00
.365
9.27
.010
0.25
.130
1.33
.562
14.30
.016
0.41
.150
3.81
.750
19.00
.02
0.5
.195
4.95
.900
22.90
.020
0.51
.206
5.23
1.312
33.32
.065
1.65
.250
6.35
1.625
41.27
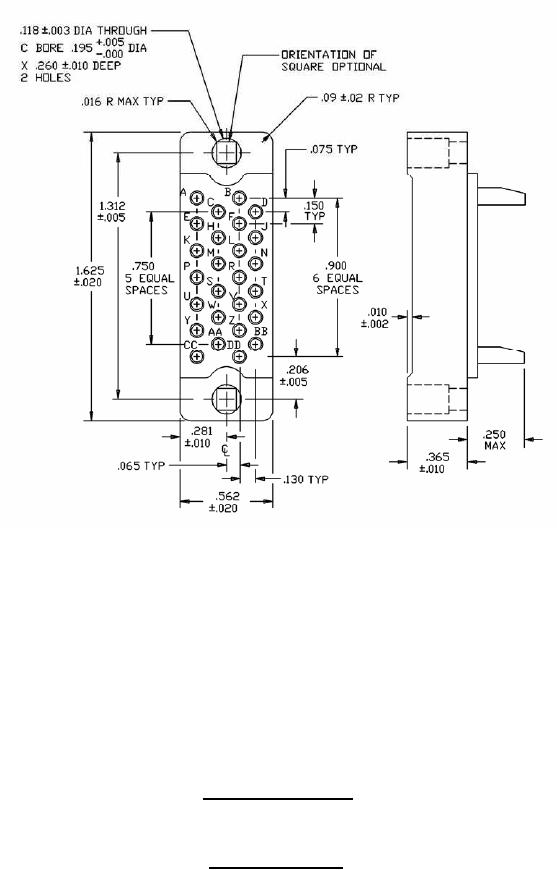
Insert with 26 contacts
Insert designator E
FIGURE 2. Insert arrangements - Continued.
7
For Parts Inquires submit RFQ to Parts Hangar, Inc.
© Copyright 2015 Integrated Publishing, Inc.
A Service Disabled Veteran Owned Small Business