
MIL-DTL-28748/6E
Inches
mm
Inches
mm
Inches
mm
Inches
mm
Inches
mm
.002
0.05
.02
0.5
.090
2.29
.195
4.95
.375
9.53
.003
0.08
.020
0.51
.110
2.79
.234
5.94
.468
11.89
.005
0.13
.061
1.55
.118
3.00
.245
6.22
1.050
26.67
.008
0.20
.075
1.91
.143
3.63
.250
6.35
1.200
30.48
.010
0.25
.09
2.3
.156
3.96
.260
6.60
1.688
42.67
.180
4.57
.365
9.27
2.00
50.80
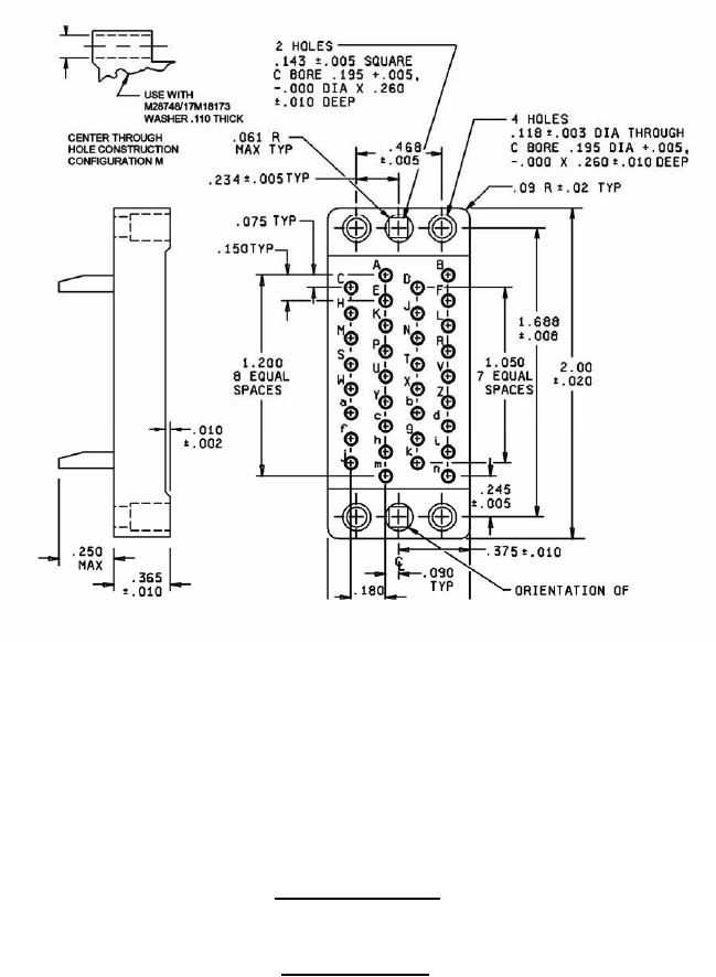
Configuration F - Suitable for all applications, except one-piece jackscrews.
Configuration M - For long jackscrews and shield only (through hole alternate construction).
Insert with 34 contacts
Insert designators F and M
FIGURE 2. Insert arrangements - Continued.
8
For Parts Inquires submit RFQ to Parts Hangar, Inc.
© Copyright 2015 Integrated Publishing, Inc.
A Service Disabled Veteran Owned Small Business