
MIL-DTL-28748/6E
Inches
mm
Inches
mm
Inches
mm
.002
0.05
.130
3.30
.260
6.60
.005
0.13
.143
3.63
.365
9.27
.010
0.25
.151
3.84
.438
11.13
.016
0.41
.169
4.29
.453
11.50
.02
0.5
.195
4.95
.604
15.30
.020
0.51
.219
5.56
.941
23.90
.075
1.91
.250
6.35
1.255
31.88
.09
2.3
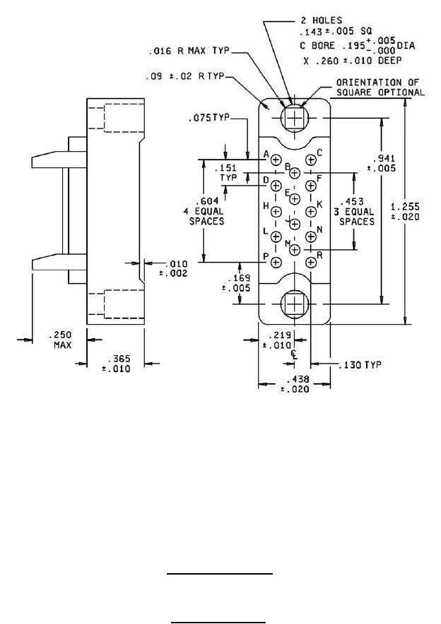
Insert with 14 contacts
Insert designator C
FIGURE 2. Insert arrangements - Continued.
4
For Parts Inquires submit RFQ to Parts Hangar, Inc.
© Copyright 2015 Integrated Publishing, Inc.
A Service Disabled Veteran Owned Small Business