
MIL-DTL-28748/6E
Inches
mm
Inches
mm
Inches
mm
6.60
.260
2.3
.09
0.05
.002
9.27
.365
3.63
.143
0.13
.005
9.53
.375
3.84
.151
0.25
.010
11.50
.453
4.37
.172
0.41
.016
15.30
.604
4.75
.187
0.5
.02
25.45
1.002
4.95
.195
0.51
.020
33.45
1.317
5.08
.200
1.91
.075
6.35
.250
2.18
.086
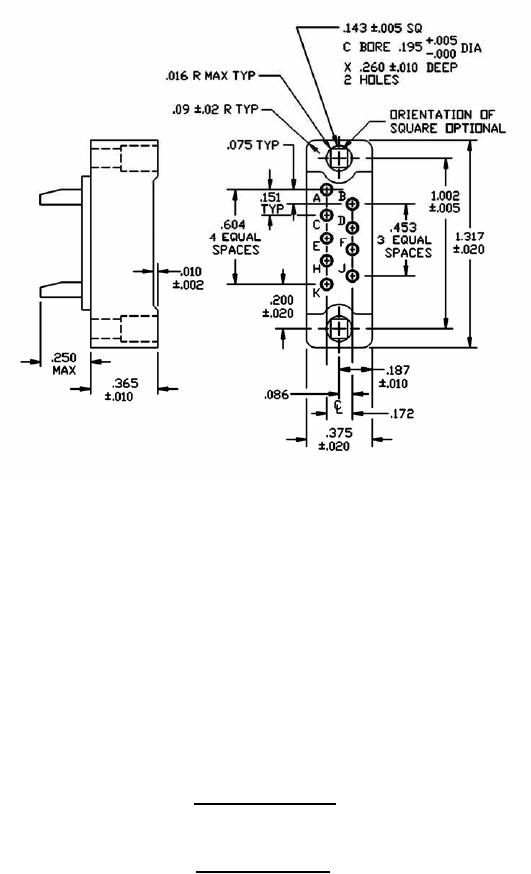
Insert with 9 contacts
Insert designator B
FIGURE 2. Insert arrangements - Continued.
3
For Parts Inquires submit RFQ to Parts Hangar, Inc.
© Copyright 2015 Integrated Publishing, Inc.
A Service Disabled Veteran Owned Small Business