
MIL-DTL-28748/2E
Inches
mm
.002
0.05
.003
0.08
.005
0.13
.008
0.20
.010
0.25
.02
0.5
.020
0.51
.061
1.55
.075
1.91
.09
2.3
.090
2.29
.110
2.79
.118
3.00
.143
3.63
.151
3.84
.180
4.57
.195
4.95
.235
5.97
.245
6.22
.250
6.35
.260
6.60
.365
9.55
.3765
9.563
.753
19.13
1.053
26.75
1.204
30.58
1.694
43.03
2.007
50.98
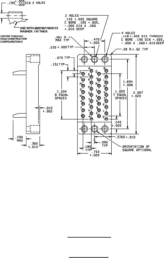
Configuration D - Suitable for all applications, except one-piece jackscrews.
Configuration K - For long jackscrews and shield only (through hole alternate construction).
Insert with 34 contacts
Insert designators D and K
FIGURE 2. Insert arrangements - Continued.
5