
MIL-DTL-28748/2E
Inches
mm
.002
0.05
.003
0.08
.005
0.13
.008
0.20
.010
0.25
.016
0.41
.02
0.5
.020
0.51
.062
1.57
.075
1.91
.09
2.29
.090
2.29
.093
2.36
.110
2.79
.118
3.00
.125
3.18
.143
3.63
.151
3.84
.16
4.06
.180
4.57
.195
4.95
.235
5.97
.242
6.15
.250
6.35
.260
6.60
.365
9.27
.439
11.15
.470
31.88
1.655
42.04
1.806
45.87
2.290
58.17
2.728
69.29
Configuration F - Suitable for all applications, one-piece jackscrews.
Configuration M - For long jackscrews and shield only (through hole alternate construction).
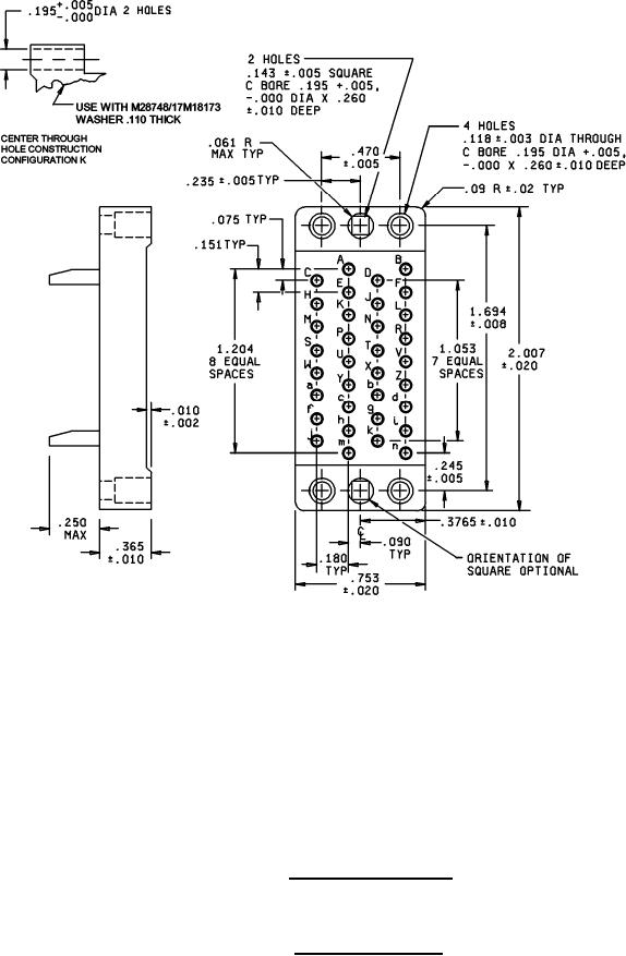
Insert with 50 contacts
Insert designators F and M
FIGURE 2. Insert arrangements - Continued.
7