
MIL-DTL-28748/2E
Inches
mm
Inches
mm
Inches
mm
6.38
.251
2.3
.09
0.05
.002
6.60
.260
2.29
.090
0.08
.003
9.27
.365
2.79
.110
0.13
.005
9.56
.3765
3.00
.118
0.20
.008
11.94
.470
3.63
.143
0.25
.010
19.13
.753
3.84
.151
0.41
.016
34.39
1.354
4.57
.180
0.5
.02
38.23
1.505
4.95
.195
0.51
.020
50.98
2.007
5.97
.235
1.91
.075
58.93
2.320
6.35
.250
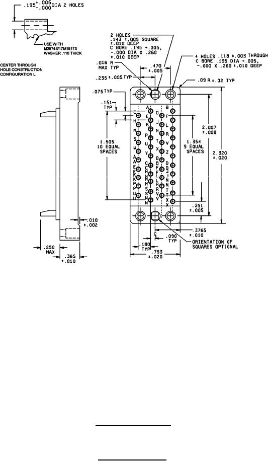
Configuration E - Suitable for all applications, except one-piece jackscrews.
Configuration L - For long jackscrews and shield only (through hole alternate construction).
Insert with 42 contacts
Insert designators E and L
FIGURE 2. Insert arrangements - Continued.
6