
MIL-DTL-28748/2E
Inches
mm
0.05
.002
0.08
.003
0.13
.005
0.20
.008
0.25
.010
0.41
.016
0.5
.02
0.51
.020
2.29
.090
2.79
.110
3.00
.118
3.63
.143
3.84
.151
4.57
.180
4.95
.195
5.97
.235
6.35
.250
6.38
.251
6.60
.260
7.87
.31
9.72
.365
12.75
.502
14.34
.5645
28.68
1.129
38.28
1.507
50.19
1.976
58.14
2.289
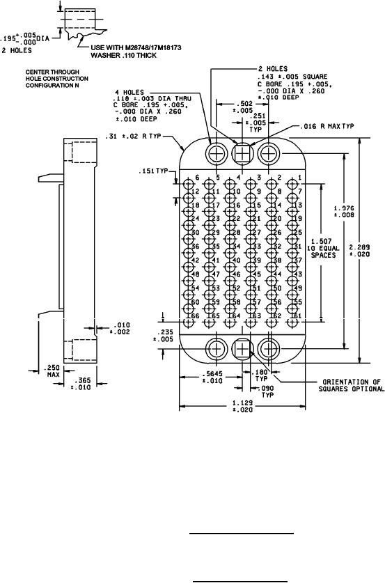
Configuration G - Suitable for all applications, except one-piece jackscrews.
Configuration N - For long jackscrews and shield only (through hole alternate construction).
Insert with 66 contacts
Insert designators G and N
FIGURE 2. Insert arrangements - Continued.
8