
MIL-DTL-28748/4F
Inches
mm
0.05
.002
0.08
.003
0.13
.005
0.20
.008
0.25
.010
0.41
.016
2.29
.090
2.79
.110
3.00
.118
3.63
.143
3.81
.150
4.57
.180
4.95
.195
5.97
.235
6.35
.250
6.60
.260
7.92
.312
9.40
.370
12.70
.500
14.288
.5625
22.35
.880
28.58
1.125
38.10
1.500
42.49
1.673
50.01
1.969
57.94
2.281
Configuration J - Suitable for all applications, except for one-piece jackscrews.
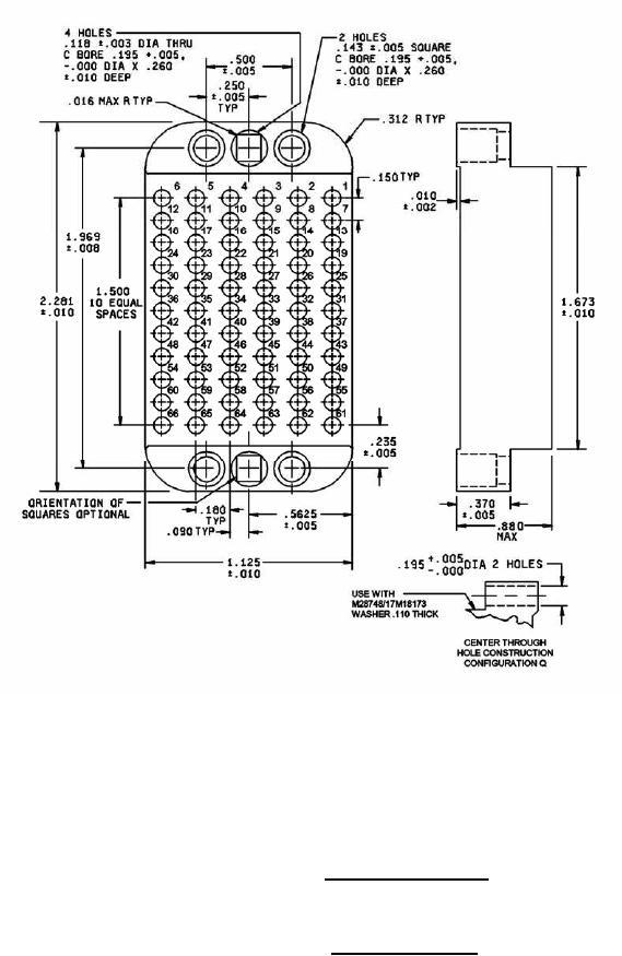
Configuration Q - For long jackscrews and shield only (through hole alternate construction).
The maximum insertion and withdrawal force (connector assembly) shall be 82.5 lbf (366.98 N).
Insert with 66 contacts
Insert designators J and Q
FIGURE 2. Insert arrangements - Continued.
10
For Parts Inquires submit RFQ to Parts Hangar, Inc.
© Copyright 2015 Integrated Publishing, Inc.
A Service Disabled Veteran Owned Small Business