
MIL-DTL-28748/4F
Inches
mm
0.05
.002
0.08
.003
0.10
.004
0.13
.005
0.20
.008
0.25
.010
0.41
.016
1.57
.062
1.91
.075
2.29
.090
2.36
.093
2.79
.110
3.00
.118
3.43
.135
3.63
.143
3.81
.150
3.96
.156
4.57
.180
4.95
.195
5.94
.234
6.12
.241
6.60
.260
9.40
.370
11.11
.4375
11.13
.468
21.74
.856
22.23
.875
22.35
.880
41.91
1.650
45.72
1.800
50.09
1.972
50.80
2.000
57.96
2.282
69.04
2.718
CENTER THROUGH
HOLE
CONSTRUCTION
Configuration H - Suitable for all applications, except one-piece jackscrews.
Configuration P - For long jackscrews and shield only (through hole alternate construction).
The maximum insertion and withdrawal force (connector assembly) shall be 62.5 lbf (278.01 N).
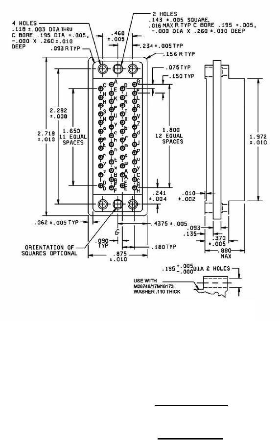
Insert with 50 contacts
Insert designators H and P
FIGURE 2. Insert arrangements - Continued.
9
For Parts Inquires submit RFQ to Parts Hangar, Inc.
© Copyright 2015 Integrated Publishing, Inc.
A Service Disabled Veteran Owned Small Business