
MIL-DTL-28748/4F
Inches
mm
Inches
mm
Inches
mm
.002
0.05
.143
3.63
.375
9.53
.004
0.10
.150
3.81
.450
11.43
.005
0.13
.172
4.37
.600
15.24
.010
0.25
.1875
4.76
.810
20.57
.016
0.41
.195
4.95
.856
21.74
.075
1.95
.200
5.08
.880
22.35
.086
2.00
.260
6.60
1.000
25.40
.09
2.60
.370
9.40
1.312
33.32
The maximum insertion and withdrawal force (connector assembly) shall be 11.25 lbf (50 N) pounds.
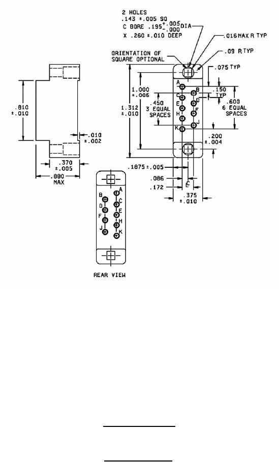
Insert with 9 contacts
Insert designator B
FIGURE 2. Insert arrangements - Continued.
3
For Parts Inquires submit RFQ to Parts Hangar, Inc.
© Copyright 2015 Integrated Publishing, Inc.
A Service Disabled Veteran Owned Small Business