
MIL-DTL-28748/4F
Inches
mm
0.05
.002
0.10
.004
0.13
.005
.010
0.25
.016
0.41
.065
1.65
.075
1.91
.09
2.29
.116
2.95
.130
3.30
.143
3.63
.150
3.81
.195
4.95
.206
5.23
.260
6.60
.281
7.14
.370
9.40
.562
14.27
.750
19.05
.856
21.74
.880
22.35
.900
22.86
1.072
27.23
1.312
33.32
1.625
41.28
The maximum insertion and withdrawal force (connector assembly) shall be 32.5 lbf (144.57 N).
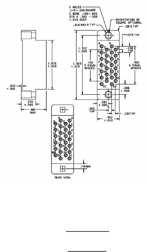
Insert with 26 contacts
Insert designator E
FIGURE 2. Insert arrangements - Continued.
6
For Parts Inquires submit RFQ to Parts Hangar, Inc.
© Copyright 2015 Integrated Publishing, Inc.
A Service Disabled Veteran Owned Small Business