
MIL-DTL-28748/4F
Inches
mm
Inches
mm
Inches
mm
12.98
.511
3.00
.118
0.05
.002
19.05
.750
3.63
.143
0.08
.003
26.67
1.050
3.81
.150
0.10
.004
30.48
1.200
4.57
.180
0.13
.005
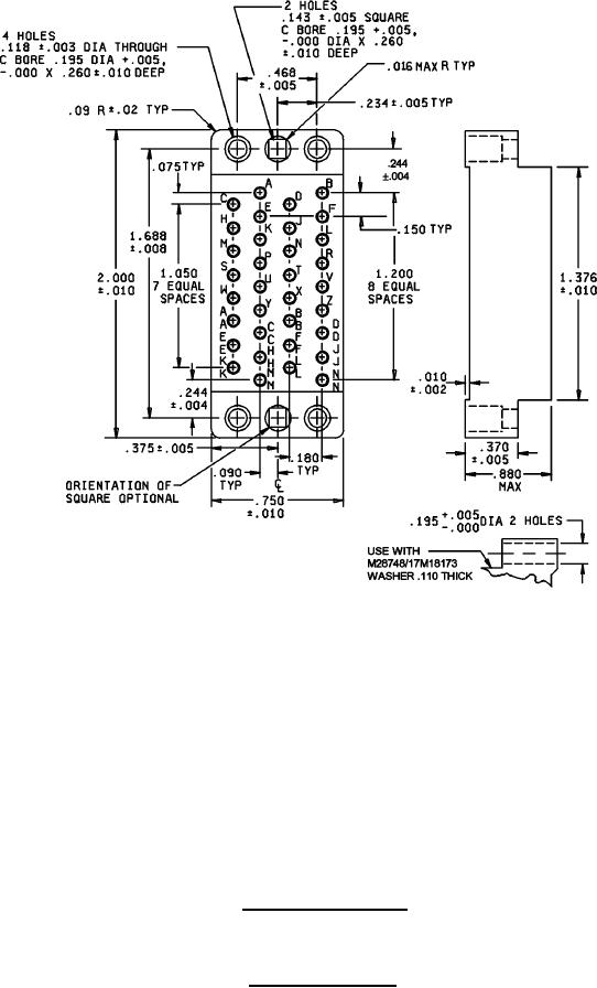
CENTER THROUGH
HOLE CONSTRUCTION
34.29
1.350
4.95
.195
0.20
.008
CONFIGURATION M
34.95
1.376
5.94
.234
2.29
.09
38.10
1.500
6.20
.244
0.25
.010
42.47
1.672
6.35
.250
0.41
.016
42.88
1.688
6.60
.260
1.91
.075
50.80
2.000
9.40
.370
2.29
.090
58.17
2.290
9.53
.375
2.79
.110
58.72
2.312
11.68
.468
Configuration F - Suitable for all applications, except for one-piece jackscrews.
Configuration M - For long jackscrews and shield only (through hole alternate construction).
The maximum insertion and withdrawal force (connector assembly) shall be 42.5 lbf (189.05 N).
Insert with 34 contacts
Insert designator F and M
FIGURE 2. Insert arrangements - Continued.
7
For Parts Inquires submit RFQ to Parts Hangar, Inc.
© Copyright 2015 Integrated Publishing, Inc.
A Service Disabled Veteran Owned Small Business