
MIL-DTL-28748/4F
Inches
mm
.002
0.05
.003
0.08
.004
0.10
.005
0.13
.008
0.20
.010
0.41
.020
0.51
.025
0.64
.062
1.51
.075
1.91
.090
2.29
.093
2.36
.110
2.79
.117
2.97
.118
3.00
.135
3.43
.143
3.63
.150
3.81
.156
3.96
.180
4.57
.195
4.95
.234
5.94
.241
6.12
.260
6.60
.370
9.40
.383
9.73
.617
15.67
.766
19.46
.880
22.35
1.234
31.34
1.650
41.91
1.800
45.72
1.990
50.55
2.281
57.94
2.718
69.04
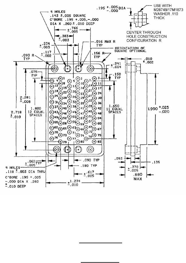
Configurations K - Suitable for all applications, except one-piece jackscrews.
Configurations R - For long jackscrews and shield only (through hole alternate construction).
The maximum insertion and withdrawal force (connector assembly) shall be 93.7 lbf (416.80 N).
Insert with 75 contacts
Insert designators K and R
FIGURE 2. Insert arrangements - Continued.
11
For Parts Inquires submit RFQ to Parts Hangar, Inc.
© Copyright 2015 Integrated Publishing, Inc.
A Service Disabled Veteran Owned Small Business