
MIL-DTL-28748/4F
Inches
mm
Inches
mm
Inches
mm
.002
0.05
.120
3.06
.438
11.13
.004
0.10
.130
3.30
.51
12.95
.005
0.13
.143
3.63
.750
19.05
.010
0.25
.150
3.81
.880
22.35
.016
0.41
.175
4.45
.900
22.86
.02
0.51
.195
4.95
1.072
27.23
.075
1.91
.219
5.56
1.250
31.75
.09
2.29
.260
6.60
1.562
39.67
.370
9.40
2.290
58.17
The maximum insertion and withdrawal force (connector assembly) shall be 25 lbf (111.21 N).
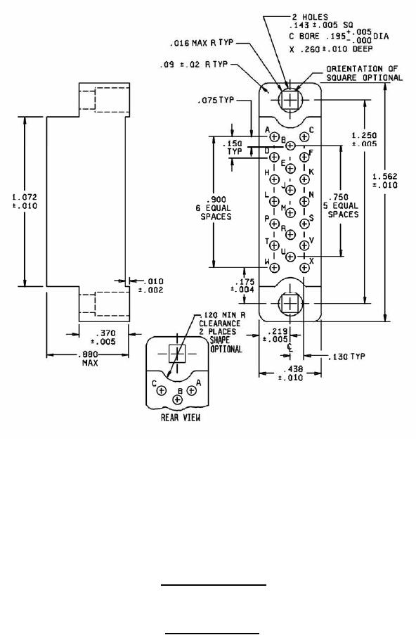
Insert with 20 contacts
Insert designator D
FIGURE 2. Insert arrangements - Continued.
5
For Parts Inquires submit RFQ to Parts Hangar, Inc.
© Copyright 2015 Integrated Publishing, Inc.
A Service Disabled Veteran Owned Small Business