
MIL-DTL-28748/4F
Inches
mm
0.05
.002
0.08
.003
0.10
.004
0.13
.005
0.20
.008
0.25
.010
0.41
.016
0.51
.02
1.91
.075
2.3
.09
2.29
.090
2.79
.110
3.00
.118
3.63
.143
3.81
.150
4.57
.180
4.95
.195
5.94
.234
6.35
.250
6.60
.260
9.40
.370
9.53
.375
11.13
.468
12.95
.51
19.05
.750
21.74
.856
22.35
.880
34.29
1.350
38.10
1.500
42.47
1.672
50.80
2.000
58.17
2.290
58.72
2.312
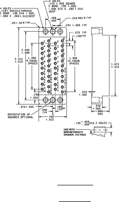
CENTER THROUGH
HOLE CONSTRUCTION
CONFIGURATION N
Configuration G - Suitable for all applications, except one-piece jackscrews.
Configuration N - For long jackscrews and shield only (through hole alternate construction).
The maximum insertion and withdrawal force (connector assembly) shall be 52.5 lbf (233.53 N).
Insert with 42 contacts
Insert designators G and N
FIGURE 2. Insert arrangements - Continued.
8
For Parts Inquires submit RFQ to Parts Hangar, Inc.
© Copyright 2015 Integrated Publishing, Inc.
A Service Disabled Veteran Owned Small Business